Kotevní patky U
- Výrobce: Bova
- Kategórie: Kotvové pätky
- Dostupnost: ihned k odeslání
- Materiál: Ocel
- Povrch: Bílý zinek
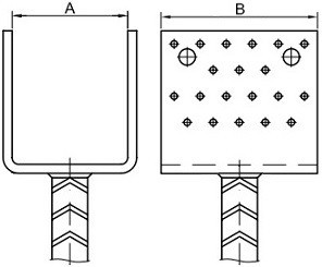
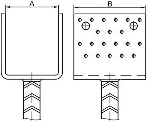
Statická svařovaná kotevní patka s otvory, vyrobená z ocelového plechu. Používá se pro kotvení tlačených sloupů a pilířů k podkladní konstrukci. V rozměrech uvádíme šířku patky (A) x její délku (B).
V naší nabídce jsou v současné době dva typy kotevních prvků, tuzemské a zahraniční. V obou případech využíváme renomované a roky spolupráce ověřené výrobce. Produkty našeho českého partnera (kód B...) splňují ta nejnáročnější měřítka a kritéria ve všech oblastech.
Produkty od tradičního zahraničního výrobce (kód P...) se kvalitou řadí mezi nadstandardní výrobky ze zahraničí, které jsou v současné době na trhu k dispozici. Tyto kotevní patky splňuji veškeré technické nároky z oblasti spolehlivosti a funkčnosti, které jsou na tento druh výrobků kladeny.
Související produkty
Podobné produkty
Sme vám k dispozícii
Roman Havlíčeke-shop, internetový špecialista
info@sroubyonline.cz
Pondelok - Piatok 7.00 - 15.30





